FlHubber, le Hub USB connecté
Groupe:
- Aurélien, COLOMBET, aurel.colombet@gmail.com, IAM
- Edgar, PERSENDA, persenda@polytech.unice.fr, IAM
- Quentin SALMERON, salmeron.quentin@etu.unice.fr, IAM
Design
Notre objet a deux designs possibles :
- Un design sobre, moderne, sous la forme d'un pavé “design”, avec une matière et des couleurs élégantes ;
Une forme amusante, plutôt dômique, telle qu'un hérisson.
Suite à la discussion avec l'expert technique qui est venu nous conseiller pour la conception de l'objet nous nous sommes orienté vers le design sobre et moderne. En effet l'autre design proposé nous dirigeais vers un objet trop volumineux pour le service rendu.
Scenario :
- Le professeur Brainard possède un smartphone. Le problème est qu'il doit le recharger tous les soirs pour pouvoir l'utiliser le lendemain. Grâce à FlHubber, son hub USB connecté, il peut recevoir une alerte SMS, un mail et/ou un message vocal qui lui rappelle qu'il n'a pas rechargé son téléphone aujourd'hui. Grâce à cela, le professeur Brainard n'oublie pas de recharger son téléphone !
- Le professeur Brainard veut aussi savoir combien consomme ses périphériques USB. Grâce à FlHubber son hub USB connecté, il peut consulter la consommation électrique de chacun de ses périphériques.
Equipements TIC :
| Equipement | Lien | Quantité | Prix |
|---|---|---|---|
| Carte RaspberryPi 2 Model B | seeedstudio link | 1 | 39,5€ |
| | gotronic link | 1 | |
| | lextronic link | 1 | |
| Hub USB | amazon link | 1 | 17.85€ |
| Câble usb Male/femelle 15cm | materiel.net link | 2 | 11,98€ |
| Câble usb retractable Male/Male micro | cdiscount link | 2 | 13,8€ |
| | gotronic link | 1 | |
| Jumper Femelle/femelle | - | - | - |
| Total | 83,13€ | ||
Services TIC & API
Rôle de l'objet
- Détection des périphériques branchés.
- Rechargement/utilisation de périphériques USB.
- Récupération d'informations sur le périphérique.
Services rendus à l'utilisateur
- Envoi de notifications(SMS, Mail, Appel vocal) lorsqu'un appareil n'est pas branché alors qu'il le devrait.
- Détection de la quantité d'énergie consommée par les périphériques et notification à l'utilisateur si quantité d'énergie consommé trop élevé.
APIs exposées
- Exposition des données récupérées sur les appareils qui ont été branchés (via hotplug) (Rest)
- Exposition des données récupérées sur la consommation électrique. (Rest)
Communication
- L'objet communiquera avec un orchestrateur à l'aide du protocole UPnP
- L'orchestrateur se chargera d'exposer les APIs, de contacter les services externes pour avertir l'utilisateur qu'un de ses périphériques n'est pas branché alor qu'il devrait l'être et exposera une IHM de configuration.
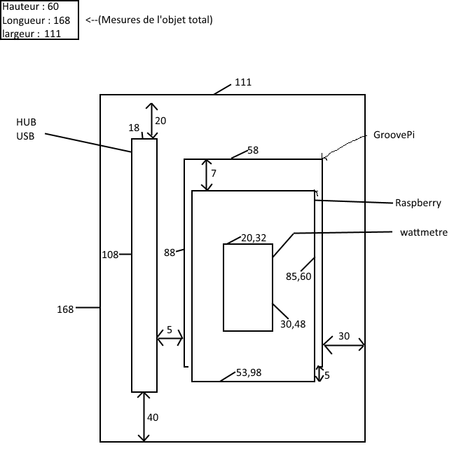
Enveloppe de l'Objet 3D
Croquis
Voici notre croquis qui possède ses cotes en mm :
https://www.tigli.fr/lib/images/toolbar/image.png
Emplacement Matériel et Connectique
- 2 port USB femelle
- 2 port USB male avec rallonge
- 1 port ethernet
- 1 port d'alimentation
Modèle 3D
La plaque du dessus (celle au dessus de la raspberry) doit être amovible, on peut envisager un système d’emboîtement. Lorsque la plaque est mise elle ne doit pas pouvoir s'enlever toute seule lorsque l'objet se déplace.
Un système de fixation à vis pour la raspberry doit être mis en oeuvre. Sous la forme de quatre vis (3mm de diamètre). Pour la position des pas de vis voir le fichier SketchUp.
Sur le modèle SketchUp les rectangles opaque de couleur sur les faces correspondent aux différents trous qui doivent être percés dans la face.
Le cylindres qui sort du hub USB correspond aux câbles d'alimentationdu hub et de la respberry.
Le cylindre qui sort du port ethernet de la Raspberry correspond au câble ethernet.
Position et taille des trous (se référer au fichier sketch up pour les noms correspondant aux trous):
Sortie pour les cables (ethernet alimentation): (Face avant (en face du port ethernet) - Distance par rapport au point en bas à gauche du plan : x:2,06 cm y: 0,8cm - Taille du trou: x:2,5cm y:1,41cm
Sortie pour USB1: (Face gauche(à l'opposé du hub USB)) - Distance par rapport au point en bas à gauche du plan : x:10,14 cm y: 3,18cm - Taille du trou: x:2,0cm y:0,96cm
Sortie pour USB2: (Face gauche(à l'opposé du hub USB)) - Distance par rapport au point en bas à gauche du plan : x:2,49 cm y: 0,96cm - Taille du trou: x:2,0cm y:0,96cm
Sortie pour USB3: (Face Arrière) - Distance par rapport au point en bas à gauche du plan : x:7,09 cm y: 3,45cm - Taille du trou: x:2,0cm y:0,96cm
Sortie pour USB4: (Face Arrière) - Distance par rapport au point en bas à gauche du plan : x:1,72 cm y: 3,45cm - Taille du trou: x:2,0cm y:0,96cm
Fichier SketchUp: (ECHELLE 1:100) Lien externe
Images de l'objet
Schéma Wcomp
Distribution (GIT)
Lien du git: https://github.com/Buisson/BeansFlhubber
Tout le code des différentes parties du projet se trouve sur ce lien
Le serveur a été développé avec nodeJS et est hébergé sur un serveur distant. L'application Wcomp a été développé avec sharkDevelop
Hard/Soft
- Hardware: Raspberry pi2 modèle B
- OS: Raspbian (Jessie) 4.4.21-v7+
- Software: Machine Windows 64bit avec WComp et Node.js installés
How To
Besoins
Pour utiliser les différents services développés, vous devez au préalable installer plusieurs composants sur votre machine hôte (testé avec Windows 10 64bit).
- Installez SharpDevelop 3.2, ainsi que l'AddIn SharpWComp-3.2.
- Installez Node.js. Dans le dossier serveur/sources/nodejs, lancer la commande : “npm install”.
- Logiciel Device Spy.
Ordre de lancement
Objet Connecté:
Commencez par branchez l'objet connecté :
- Branchez le câble ethernet ;
- Branchez les deux prises d'alimentation : celle de la RaspberryPi et celle du hub.
Au démarrage, la RaspberryPi va lancer le script Python (grace au fichier /etc/rc.local) et ainsi devenir l'objet connecté FlHubber. Services Serveur Node.js
Dans le dossier serveur/sources/nodejs, lancer le serveur Node.js avec la commande : node ./server.js Schéma de composition WComp
- Déplacez toutes les DLL du dossier wcom/bin dans votre répertoire WComp (généralement Documents/WComp.NET/Beans).
- Ouvrez SharpDevelop.
- Créez un nouveau fichier “C# Container” dans la catégorie “WComp.NET”.
- Dans le menu “WComp.NET”, choisissez “Import (Replace)…” et sélectionnez le fichier “FlHubber.wcc” présent dans le dossier wcom/sources.
- Cliquez sur le bouton “Start”, lié au Bean “FlHubberService”, qui va lancer le Bean serveur.
- Lancez le logiciel “Device Spy”, sélectionnez l'objet “PyUPnP_Flhubber”, copiez l'adresse de l'objet.
- Dans le schéma WComp, sélectionner le Bean FlHubber (de type PyUPnP_Flhubber), et copier l'adresse dans l'Uri (dans les propriétés).













